Supplement Timing Chart
Folic Acid Supplementation
Supplement Guides Stop Wasting Your Time And Money Examine Com
Postexercise Nutrient Intake Timing In Humans Is Critical To Recovery Of Leg Glucose And Protein Homeostasis Otsuka Pharmaceutical Co Ltd
Pdf Effect Of Beta Alanine Supplementation On 800 M Running Performance
Supplement Schedule Chart Functional Performance Systems Fps
Comparison Of Two Forms Of Daily Preventive Zinc Supplementation Versus Therapeutic Zinc Supplementation For Diarrhea On Young Children S Physical Growth And Risk Of Infection Study Design And Rationale For A Randomized Controlled
The popular omega3 fatty acids in fish oil supplements may slow down the absorption of other medications and nutrients, according to the University of Maryland So take this supplement at dinner time and avoid combining it with other medicines or nutritional aids DHEA.
Supplement timing chart. St John’s Wort is a flowering plant that is commonly used in oil form due to its long list of health benefits When taking St John’s Wort as a supplement, it is important to know how to manage the timing of it. 19 TIMING AND POST SETTINGS CHART MODEL TIMING MARK LETOFF MOD LETTER MOD 1 Draw• Set 15 Set 2 Set 25 Set 3 Set 35 Set 4 Set 45 Set 5 Set 55 Set 6 Set 65 Set 7 Set 75 Set 8 Set EDGE 3 Cable centered between marks on cam 85% 19A Notice the indexing mark on the cam, and the numbers on the module. Omega3 supplement 1 yam 1 cup black beans ½ cup mixed vegetables Omega3 supplement 1 cup oats 1 cup blueberries 1 scoop protein powder 1 serving greens powder 1/2 cup hemp milk Omega3 supplement Nutrient timing for muscle gain Those interested in gaining muscle need a calorie surplus.
Tips for Taking Dietary Supplements Be honest – when was the last time you ate your suggested five to nine servings of fruits and vegetables per day?. Astrologers can study your natal chart and navamsa charts, to determine the exact time of marriage The natal chart can clearly indicate whether you are destined to get married at all or not, and if so, astrologers can go on to calculate the exact timing of marriage for you. Research from Healthspan, a UK vitamins and supplements supplier, makes a compelling case for paying attention to the clock when crafting your supplement routine The company brought together a number of studies to produce this goto guide on the best times to take certain vitamins and supplements throughout the day.
Safe But dietary supplements are regulated in a postmarket manner, meaning the Food and Drug Administration (FDA) does not evaluate the contents or effects of supplements before they are sold A harmful or illegal dietary supplement can stay on store shelves for a long time, sometimes even years, before the FDA can remove them. FineTuning Supplement Timing While this is all lesscritical minutia when compared to first mastering the basic fundamentals, it can certainly make for a more optimal strategy in finetuning an athlete’s approach for maximum effectiveness First, get your training and basic nutrition principles in meticulous control. Nutrient timing has been used by professional bodybuilders and athletes for over 50 years, and many aspects of it have been studied (2, 3, 4)One of the world’s leading researchers in.
The chart below shows how some popular nutrients affect each other when combined This is usually not a problem when taking highpotency multivitamin and mineral supplements, as higher doses compensate However, if you take additional individual nutrients, it makes sense to time for optimum benefits These are some important points to keep in mind. Nitric Oxide Booster Supplement Pre Workout,Muscle GrowthL Arginine 60 Capsules 86 81 87 6 Nitric Oxide Complex LArginine Testosterone Booster Combo Muscle Pump Growth. Yes Any amount of breast milk is beneficial, and it's okay to supplement with formula if that's what works for your family While health experts recommend feeding babies breast milk exclusively until solids are introduced (usually around 4 to 6 months, depending on your baby's readiness), parents may choose to supplement with.
Supplements are designed to be additions to your diet Popping pills is not the answer to good health Experts say you should eat a wellbalanced diet and take supplements to fill in any. What Is St John’s Wort?. Decent basic timing diagram editor However, you can't 1) insert free text on diagrams 2) draw horizontal lines without first drawing a vertical line would be nice to draw a horizontal line on any tick without having to put a vertical line on it first 3) Create a time scale of arbitrary length Have to drag it out by hand.
If this was the first time you've ever heard of Level 2 market data, that's a sign you should not be market timing You are swimming in shark infested water and your life vest is a cow Follow me. Supplement interactions Taking melatonin with other supplements that have sedative properties (including St John's wort and valerian) may increase the effects and side effects of melatonin. Properly taking vitamins The best time to take your vitamins depends on the type you’re taking Some vitamins are best taken after a meal, while it’s best to take others on an empty stomach.
St John’s Wort is a flowering plant that is commonly used in oil form due to its long list of health benefits When taking St John’s Wort as a supplement, it is important to know how to manage the timing of it. In conclusion, you can see that the timing of when you take your supplements can significantly affect the way in which your body can absorb and utilize your nutrients While bedtime may be the most convenient option, it may be worth setting some reminders on your phone (eg using a Vitamin Reminder phone app ) or refrigerator to ensure that. Safe But dietary supplements are regulated in a postmarket manner, meaning the Food and Drug Administration (FDA) does not evaluate the contents or effects of supplements before they are sold A harmful or illegal dietary supplement can stay on store shelves for a long time, sometimes even years, before the FDA can remove them.
24V AC shown highlighted GREENWALD INDUSTRIES 212 Middlesex Avenue l Chester, CT USA l Tel (860) l Fax (860) TollFree Tel l TollFree Fax wwwgreenwaldindustriescom United States & Canada Customer Service & Technical Assistance. Supplement ingredients (micronutrients) work in tandem, in a symbiotic manner, with the macronutrients (fats, protein, carbohydrates) found in food Therefore, the best time to take vitamins, and supplements in general (with a few exceptions), is when you eat a meal Either while you eat, or shortly after you're done eating. Despite your best efforts to eat a balanced diet, you may be falling short of the recommended daily amount of certain nutrients.
The time of day at which a person takes a supplement will rarely make a difference, except in reducing the risk of some rare adverse effects of specific B vitamins. Is it okay to supplement my breastfed baby's diet with formula?. Timing the market fails The researchers found that targetdate funds that deviated from the glide path underperformed their peers by 141 basis points (or 0141 percentage points) each year when.
Stop taking supplements you can’t trust Get Jeff Cavaliere’s exact supplements herehttp//athleanxcom/x/supplementstrustedtodeliverWhen it comes to tak. Research from Healthspan, a UK vitamins and supplements supplier, makes a compelling case for paying attention to the clock when crafting your supplement routine The company brought together a number of studies to produce this goto guide on the best times to take certain vitamins and supplements throughout the day. Timing matters with nutrition Whether it's the food you eat or the supplements you take, honoring your natural biorhythms can make a big difference We're here to help.
Supplement Dosing and Timing Guide Now that I've covered which supplements I personally take for optimized health, performance, and longevity, there are still more questions to answer to ensure that you're getting maximal benefit from supplements. The best supplements provide you with essential nutrients so that you can tap into your full potential, every day It’s easy to get it wrong, though A lot of supplements are cheaply made, lowquality and do more harm than good. Fiber should be taken separately from other supplements, since it can interfere with their absorption—so midafternoon is a good time Bonus you’ll feel more full and less inclined to snack Benefit promotes digestive regularity and healthy blood lipid levels.
A timing belt or chain is the device that connects the crankshaft to the camshaft In the mid1960s, Pontiac developed an overhead cam and claimed to be the first American car with a rubber timing belt Before 1966, when Pontiac revealed this engine design, nearly every fourstroke engine used a timing chain. The ‡ symbol in the A/FD specifies that the location observes daylight savings time This is from the A/FD legend, which can be found online by going to the online digital A/FD and searching for an airport The A/FD Legend link will then be at the top of the search results (unfortunately the link changes every cycle so I can't include an exact link). Timing of Fats and Fiber Supplements Fiber may inhibit your body's absorption of fat, so most fiber supplements, including "green" supplements like powdered spirulina and kelp, are best taken separately from any fatty acid supplements you may be taking If you're working out, remember that fiber supplements will slow the movement of food through your stomach and intestines.
19 TIMING AND POST SETTINGS CHART MODEL TIMING MARK LETOFF MOD LETTER MOD 1 Draw• Set 15 Set 2 Set 25 Set 3 Set 35 Set 4 Set 45 Set 5 Set 55 Set 6 Set 65 Set 7 Set 75 Set 8 Set EDGE 3 Cable centered between marks on cam 85% 19A Notice the indexing mark on the cam, and the numbers on the module. All of your supplement questions answered from timing to dosages, now you can get on the road to growth This may seem like a lot to "digest" right now, but if you are new to supplements start by taking some whey protein at the specified times of day and then experiment with the others to see what will work for you. As you can see, we have two price charts, the VIX Index is on the bottom and the S&P 500 is on the top You can clearly see the relationship in play where a very high VIX usually coincides with a market bottom in the S&P 500 So let’s see how this relationship stands up to historical testing VIX as a market timing indicator.
You could be taking all the right supplements but if you’re taking them at the wrong time, you may not see or feel any results In this guide we will share the best supplements for maximum muscle gain, what they are, why you need them, proper timing, and recommended dosage. Market Timing Chart Patterns Swing Trading 15 January 21, 1014 Trading44 Watchlist Ray Michalski (1 year). In a historic expansion of unemployment insurance, the federal government would give jobless workers an extra $600 a week on top of their state benefits for four months as part of the $2 trillion.
Decent basic timing diagram editor However, you can't 1) insert free text on diagrams 2) draw horizontal lines without first drawing a vertical line would be nice to draw a horizontal line on any tick without having to put a vertical line on it first 3) Create a time scale of arbitrary length Have to drag it out by hand. Adding DIM supplements to your diet can help to strengthen the reactivity and response time of your immune system, among others, despite the relative dearth of conclusive research on the subject DIM is found in cruciferous vegetables such as broccoli , Brussels sprouts , cabbage , and kale. Take with healthy fats and proteins*Our bodies can only absorb 500mg of calcium at a time;.
And Trailing timing be set at 10 to 12 degrees total advance, wwwracingbeatcom The recommendations in this chart for nonported and streetported engines are based on the conventional method of setting the timing at idle, with the vacuum advance disconnected The recommendations for bridge ported and peripheral ported engines. Market Timing Chart Patterns Swing Trading 15 January 21, 1014 Trading44 Watchlist Ray Michalski (1 year). Timing Charts Trading Charts.
Timing ovulation within the heat cycle of a bitch isn’t as straightforward as it first appears Knowing precisely when ovulation happens is an invaluable skill for all breeders because whelping. What Is St John’s Wort?. If you can, take calcium at a different time of day than zinc and iron Chelated forms tend to be better absorbed and easier on the stomach New Chapter Bone Strength Take Care is a wholefood supplement that delivers bonestrengthening calcium 2 Iron For maximum absorption, it’s best to take iron on an empty stomach.
Timing of Fats and Fiber Supplements Fiber may inhibit your body's absorption of fat, so most fiber supplements, including "green" supplements like powdered spirulina and kelp, are best taken separately from any fatty acid supplements you may be taking If you're working out, remember that fiber supplements will slow the movement of food through your stomach and intestines. Take 30 minutes before or 2 hours after a meal. A significant portion of the world’s population suffers from vitamin deficiency In the United States alone, over % of people suffer from a vitamin E deficiency, and over 44% are calcium deficient Since the 1940s, Americans have been taking supplements to account for inadequate levels of certain minerals and vitaminsBut not everyone who takes a supplement is getting all the benefits of.
Timing Charts Trading Charts. Adding DIM supplements to your diet can help to strengthen the reactivity and response time of your immune system, among others, despite the relative dearth of conclusive research on the subject DIM is found in cruciferous vegetables such as broccoli , Brussels sprouts , cabbage , and kale. Properly taking vitamins The best time to take your vitamins depends on the type you’re taking Some vitamins are best taken after a meal, while it’s best to take others on an empty stomach.
Does astrology use a process to determine the timing of marriage?. “Most supplements are manufactured with a time release component that provides the nutrient for a period of time Also, in order to reap the same amount of nutrients from a supplement, one would. Timing Selection Chart Voltage 110V AC, 2V AC;.
When it comes to supplements, timing is everythingYou can research supplements until you’re blue in the face, but if you don’t now how and when to take them, you’re just flushing money down the drain Proper supplement timing is an essential factor in maximizing your muscle and performance gains. This topic provides the detailed supported resolution timing charts for the TFTLCD display unit The following tables are the supported resolution timing charts Although additional resolutions might work, these are the supported signals. Spread doses throughout the day Phospholipids Phosphatidylserine Morning or early afternoon Take 1530 minutes before a meal Probiotics Probiotics AR, Probiotics 16 Upon rising in the morning or right before bed No;.
Fiber should be taken separately from other supplements, since it can interfere with their absorption—so midafternoon is a good time Bonus you’ll feel more full and less inclined to snack Benefit promotes digestive regularity and healthy blood lipid levels.
Http Www Npqic Org Files Pdf
Timing Of Postexercise Protein Intake Is Important For Muscle Hypertrophy With Resistance Training In Elderly Humans Otsuka Pharmaceutical Co Ltd
The Supplement Timing Is Everything Bks Partners
Pin On Vitamins Supplements
Study Design Summary Of The Timing Of Ingestion Of The Test Solutions Download Scientific Diagram
Using Supplements To Maximize Your Ketogenic Diet Ruled Me
Best 42 Vitamin World Wallpaper On Hipwallpaper Disneyworld Wallpaper Disney World Wallpaper And World Wallpaper
The Bigvits Guide To Taking Vitamins And Supplements Bigvits
Using Supplements To Maximize Your Ketogenic Diet Ruled Me
10 Graphs That Show The Immense Power Of Creatine
Branch Chain Amino Acid Benefits And Side Effects Explained
Sunshine Calendar Grassrootshealth
Melatonin Finally A Supplement That Actually Boosts Memory
Calameo 2lt 3l Engine Repair Manual Supplement Toyota Manual
Pin On Vitamins
Product Usage Charts Hammer Nutrition
Betaine The Other Beet Supplement
A Randomised Placebo Controlled Crossover Study Investigating The Optimal Timing Of A Caffeine Containing Supplement For Exercise Performance Sports Medicine Open Full Text
Heliocare Suncare Sunblock Oral Supplement Skincare Faqs
Using Bermudagrass Pastures To Meet Cow Nutrient Requirements
Here S A Friendly User S Guide For The Timing Of Nutritional Supplements Conscious Life News Nutritional Supplements Vitamins Vitamin D
Bjsm Bmj Com Content Bjsports Early 18 03 13 Bjsports 18 Full Pdf
Methodologies For Investigating Performance Changes With Supplement Use In International Journal Of Sport Nutrition And Exercise Metabolism Volume 28 Issue 2 18
Fitnessinfographics Com On Reddit Com
Nutrients Special Issue Dietary Supplements
Practical Issues In Evidence Based Use Of Performance Supplements Supplement Interactions Repeated Use And Individual Responses Springerlink
Pharmacokinetics Of Oral L Serine Supplementation In A Single Patient Sciencedirect
Http Www Fao Org 3 A A0242e Pdf
The Best Time To Work Out There S A Science To It
Fueling For Fitness Ingredients That Boost Performance Today S Dietitian Magazine
The Best Time Of Day To Take 7 Popular Supplements What S Good By V
Medicare Supplement Open Enrollment Medigap Open Enrollment
Effects Of Nutritional Supplementation For Hiv Patients Starting Antiretroviral Treatment Randomised Controlled Trial In Ethiopia The Bmj
Q Tbn And9gctp W49fyr4iwllybvxbvggvbwdjzk2nwo9ks3pmzrjujmzleay Usqp Cau
Q Tbn And9gcswyvjilwkpjmukolzxhdredsjvriv Wrr0vjehgjxp 6zwvmq7 Usqp Cau
Recommendations For Carb Intake During Exercise
Irish Cancer Researchers Vitamin D Seem To Benefit Women
When Is The Best Time To Take Vitamins Vitacost Blog
The Best Time Of Day To Take 7 Popular Supplements What S Good By V
Guide To Timing Supplement Intake Htc Health
1
Vitamin D Chart The Unconventional Dietitian
Harmon Kardon Avr 15 Solid State Amp Receiver On Demand Pdf Download English Addendum
Methodologies For Investigating Performance Changes With Supplement Use In International Journal Of Sport Nutrition And Exercise Metabolism Volume 28 Issue 2 18
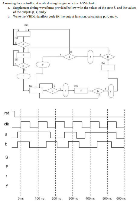
Assuming The Controller Described Using The Given Chegg Com
Creatine Wikipedia
Cultureone Supplement And Neural Differentiation Thermo Fisher Scientific Sa
How To Choose The Best Protein Powder A Guide From Precision Nutrition
Top Coaches Supplement Thoughts Many Of You Have Asked Me About My By Joey Banh Medium
Bjsm Bmj Com Content Bjsports Early 18 03 13 Bjsports 18 Full Pdf
Can You Reuse Spent Mushroom Substrate Improve Mushroom Cultivation
Q Tbn And9gcquankqrktcc76n10gjmmhazmlzpm5ekrxhmd9jjxkrqouqcqav Usqp Cau
Cultureone Supplement And Neural Differentiation Thermo Fisher Scientific Sa
Pdf Effects Of A Pre Workout Supplement On Lean Mass Muscular Performance Subjective Workout Experience And Biomarkers Of Safety Semantic Scholar
Pdf Supplement Consumption In Body Builder Athletes
The Best Time Of Day To Take 7 Popular Supplements What S Good By V When To Take Vitamins Healthy Supplements Health Supplements
Users Guide To Supplement Timing Graphic Cat S Kitchen
Fifo Read And Write Operation Timing Diagram Programmer Sought
Medicare Planning Skw Insurance
When Is The Best Time To Take Vitamins Vitacost Blog
Jewel Plant Nutrient Feed Chart 3 Gems Plant Nutrients
Nutrients Free Full Text Effects Of Synbiotic Supplement On Human Gut Microbiota Body Composition And Weight Loss In Obesity Html
When Is The Best Time To Take Vitamins Vitacost Blog
Figures And Data In Two Photon Calcium Imaging Of The Medial Prefrontal Cortex And Hippocampus Without Cortical Invasion Elife
Vitamin D And Multiple Sclerosis An Update Multiple Sclerosis And Related Disorders
Dietary And Herb Supplements May Cause Liver Damage Nutrition And You Boston Com
Frequently Asked Questions Jeuneora Pure Marine Collagen Jeuneora
A Nutrient Timing Guide To Maximize Fat Loss And Muscle Growth
Dietary Supplements And Elite Athletes
When To Take Supplements
Supplement Intake By Pregnant Women According To Timing Of Intake Download Table
The Best Times To Take Vitamins And Supplements New Hope Network
Jacc Cardiovascular Interventions Vol 13 No 4 Supplement S
Medicare Supplement Open Enrollment Medigap Open Enrollment
Pin On Vitamins Supplements
Diabetes Bodybuilding Diet Plan Diabetic Muscle Fitness
The Impact Of Folic Acid Supplementation On Gestational And Long Term Health Critical Temporal Windows Benefits And Risks Porto Biomedical Journal
Dawn S Path To Autoimmune Recovery Posts Facebook
Barriers And Enablers For Iron Folic Acid Ifa Supplementation In Pregnant Women Siekmans 18 Maternal Amp Child Nutrition Wiley Online Library
Espen Practical Guideline Clinical Nutrition In Inflammatory Bowel Disease Clinical Nutrition
The Best Times To Take Vitamins And Supplements New Hope Network
Generation Of Photon Pairs In An Algaas Disk Nanoantenna Ir Download Scientific Diagram
Nutrients Special Issue Dietary Supplements
Pdf Supplement Timing Of Cranberry Extract Plays A Key Role In Promoting Caenorhabditis Elegans Healthspan Semantic Scholar
Optimal Dosage And Early Intervention Of L Ascorbic Acid Inhibiting K2cr2o7 Induced Renal Tubular Cell Damage Sciencedirect
121 Timing Of The Loss Of Hepatic Npas2 Is Associated With Metabolic Dysregulation Under Stress Conditions American Journal Of Obstetrics Gynecology
3 Assuming The Controller Described Using The Giv Chegg Com
Problem 1 Assuming The Controller Described Chegg Com
How To Take Your Algaecal Supplements Printable Pdf
November 18 Suppversity Nutrition And Exercise Science For Everyone
Prevalence Knowledge And Attitudes Towards Using Sports Supplements Among Young Athletes Journal Of The International Society Of Sports Nutrition Full Text
Product Usage Charts Hammer Nutrition
The Impact Of Folic Acid Supplementation On Gestational And Long Term Health Critical Temporal Windows Benefits And Risks Porto Biomedical Journal
Patterns Of Dietary Supplement Use In Children With Down Syndrome The Journal Of Pediatrics
What Is The Best B Vitamin Dose For Daily Use Gene Food
Feeding The Beasts Nfl Training Camp Nutrition Stack
Weight Loss Program Comparison Nutrimost Com
10 Graphs That Show The Immense Power Of Creatine


